Розділювачі РМ5319 призначені для запобігання внутрішній порожнині чутливих елементів вимірювальних пристроїв (манометрів і перетворювачів тиску) від потрапляння в неї середовищ, агресивних, гарячих, кристалізуються, що несуть зважені тверді частинки.
При необхідності, сторона мембрани роздільника, що стикається з агресивним середовищем, може бути захищена фторопластом.
Роздільники можуть з'єднуватися з вимірювальним пристроєм безпосередньо або через з'єднувальний рукав моделі 55004.
ОСНОВНІ ТЕХНІЧНІ ХАРАКТЕРИСТИКИ
|
Модель роздільника |
Верхні межі вимірювань вимірювальних пристроїв, що комплектуються роздільниками, МПа (кгс/см2) |
Об'єми, що заповнюються розділювальною рідиною вимірювальних пристроїв, що комплектуються роздільниками, см3 |
|
5319, 5320, 5497 |
0,025-2,5 (0,25-25) |
40 |
|
5321, 5322 |
4-60 (40-600) |
20 |
|
5494 |
0,6-2,5 (6-25)* |
Примітки: 1. Розділювачі, розраховані тиску 0,025; 0,04; 0,06 МПа (0,25; 0,4; 0,6 кгс/см2) призначені для роботи тільки з перетворювачами тиску ГСП, зазначеними у розділі 6.
2. Розділювачі моделей 5320, 5322 (з відкритою мембраною) призначені для середовищ, що кристалізуються, виділяють опади або несуть зважені тверді частинки.
Розділювачі призначені для роботи в умовах, що нормуються для виду кліматичного виконання У3* та Т3** за ГОСТ 15150-69, але при температурі навколишнього повітря від – 30 до + 60 °С.
Температура вимірюваного середовища на вході роздільника має бути в межах від – 30 до + 60 °С.
Розділювачі завжди застосовуються зі з'єднувальним рукавом, якщо температура вимірюваного середовища на вході роздільника вище вказаної.
Роздільник із вимірювальним пристроєм функціонує при температурі до 90 °С. При з'єднанні вимірювального пристрою з роздільником за допомогою гнучкого рукава та заповненні комплекту розділювальною рідиною (ПЕМ-2 ГОСТ 13044-77, ПМС-6 або ПМС-50 ГОСТ 13032-77) температура вимірюваного середовища повинна бути не більше 100 °С.
Матеріали деталей розділювачів, що контактують з вимірюваною середовищем: сталь 12Х18Н10Т (ГОСТ 5632-72) - корпус; сталь 36НХТЮ (ГОСТ 10994-74) - мембpана. Для моделі 5494 матеріал нижнього фланця – сталь 45 (ГОСТ 1050-88).
Маса роздільників не більше, кг:
3 – для моделей 5319, 5494, 5497;
2,2 – для моделі 5321;
2 – для моделі 5320;
1,5 – для моделі 5322.
Маса сполучного рукава трохи більше 0,4 кг.
При замовленні роздільника вказувати: найменування, умовне позначення, модель та, у разі потреби, наявність сполучного рукава та плівки з фторопласту, кліматичне виконання (вказується тільки для виконання Т), позначення технічних умов.
Приклади замовлення:
Розділювач РМ, модель 5319, ТУ 25-05.2343-78.
Розділювач РМ, модель 5319, фторопласт, ТУ 25-05.2343-78.
Розділювач РМ, модель 5319, рукав моделі 55004, ТУ 25-05.2343-78.
Розділювач РМ, модель 5319-Т3, ТУ 25-05.2343-78.
Габаритні та приєднувальні розміри роздільників вказані на рис. 10-15, а рукави сполучного гнучкого моделі 55004 - на рис. 16.
Розділювачі виготовляються потреб народного господарства й у поставки експорту (зокрема для тропічного клімату).
Додаткова похибка вимірювання, що вноситься роздільником, не більше ± 1 % нормуючого значення пристрою при заповненні системи роздільними рідинами, зазначеними вище.
На вимогу замовника роздільники (розділювачі зі сполучним рукавом) можуть комплектуватися з вимірювальними пристроями типів: МТІ
ТУ 25.05.1481-77; МС-П1, МС-П2, МВС-П1, МВС-П2, ВС-П1, МП-П2, МП-П3, МП-П4 на тиск 60 МПа (600 кгс/см2) за ТУ 25.05.2081-79 (тільки роздільники із сполучним рукавом). У цьому випадку при замовленні роздільника необхідно вказати відповідний вимірювальний пристрій, приклад якого наведено в розділах 6 або 8.
Приклади замовлення:
Розділювач РМ, модель 5321, ТУ 25-05.2343-78, МТІ-1246-4 МПа-01,
ТУ 25.05.1481-77.
Розділювач РМ, модель 5319, ТУ 25-05-2343-78, ГСП.МС-П13-У3, верхній межа допускається основної похибки Dд = ± 0,25%, ТУ 25-05.2081-79.
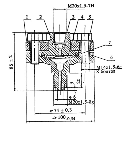
Рис. 1. Габаритні та приєднувальні розміри
розділювача мембранного РМ моделі 5319
1-верхній фланець; 2-корпус; 3-прокладка; 4-мембрана;
5-болт; 6-нижній фланець; 7-прокладка
Рис. 2. Габаритні та приєднувальні розміри роздільника мембранного РМ моделі 5320
1 – верхній фланець; 2 – корпус; 3 – прокладка;
4 – мембрана; 5 – болт; 7 – прокладка.
Рис. 3. Габаритні та приєднувальні розміри роздільника мембранного РМ моделей 5321
1 – верхній фланець; 2 – корпус; 3 – прокладка;
4 – мембрана; 5 – болт; 6 – нижній фланець;
7 – прокладка.
Рис. 4. Габаритні та приєднувальні розміри роздільника
мембранного РМ моделі 5322
1 – верхній фланець; 2 – корпус; 3 – прокладка;
4 – мембрана; 5 – болт; 7 – прокладка
| Основні | |
|---|---|
| Матеріал | Сталь |
| Виробник | Primera |
| Технічні характеристики | |
| РМ5320 | РМ5320 |
| РМ5319 | РМ5319 |
| РМ5321 | РМ5321 |
- Ціна: від 3 200 ₴






